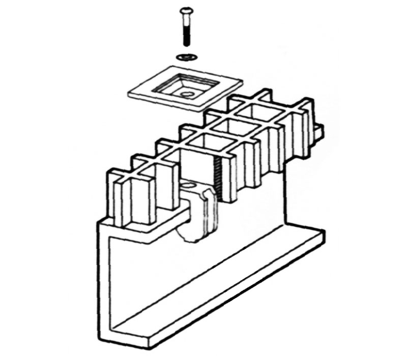
Hold-down clips should be used with a minimum of 4 clips per panel. Different fasteners available on request. All clips are made of SS316 stainless steel.
Hold-down clips should be used with a minimum of 4 clips per panel. Different fasteners available on request. All clips are made of SS316 stainless steel.